
Restorasyon çalışması için idealdir
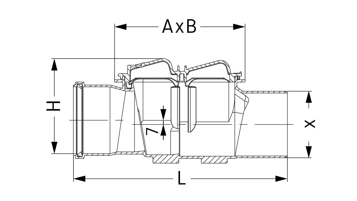
Bir geri akış önleyici vana artık mevcut boruya sığmıyorsa, yapılacak iş ve masraf artabilir. Staufix Basic girişten süzgece kadar sadece 7 mm derinliğindedir, bu sayede sorunsuz bir şekilde entegre edilebilir. “Temizleme kapaklı süzgeç gövdesi" modeli bir temizlik parçası olarak kullanılabilir .



























